Following the launch of the Stage LT series, which includes the constant-curvature VCH30 loudspeaker and the dual 18-inch VTL218 subwoofer, we have updated our preset libraries for the PikipAmp24 and PikipAmp44 amplifiers. In addition to adding these new loudspeakers, and as part of our continuous improvement approach, we have also upgraded the presets for all PikiP systems to a new version to ensure consistent sound across the range.
Each PikiP series has a target frequency response curve. These curves are similar, with the exception of low-frequency extension, which is more pronounced for larger systems. This frequency response ensures versatility: it is equally suitable for recorded music with high low-end density and for live music. The profile can be adjusted by the user to suit conditions and specific needs.
This curve was defined with the contribution of Christophe Chapuis, a renowned system tuning engineer, who also helped develop the presets by bringing his field expertise.

What’s in the libraries?
For each channel, the user can load a preset called a “Speaker.” It includes several signal processing elements such as EQ, limiters, and delay. Each Speaker corresponds to a specific loudspeaker model and ensures optimal amplifier–speaker pairing in terms of protection, sound quality, and energy efficiency.
What we call “Presets” are combinations of Speakers with specific routing that cover all common PikiP system configurations. This foundation saves a significant amount of time when preparing for an event.
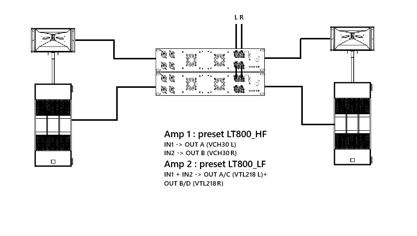
For example, for an LT800 system (which consists of one VTL218 and one VCH30 per side), the user simply loads the LT800 Preset, which includes the appropriate routing and Speakers for the VCH30 and VTL218. Adjustments can of course be made via the software to adapt to the venue and the desired sound aesthetic.

What are presets made of?
EQs
Each loudspeaker is first equalized to achieve the desired frequency response, compensating for certain acoustic phenomena. For example, a constant-directivity horn inherently exhibits a high-frequency roll-off. EQ is used to compensate for this effect and optimize efficiency and system integration. This is how the target curve is achieved.
Phase alignment
Phase, filters, and delay are adjusted so that the phase difference between loudspeakers in the overlap region is as small as possible. This ensures optimal summation without loss of level or efficiency, while also maintaining coherent impulse response and preserving waveform integrity.
Limiters
There are two main types of limiters: peak limiters, which prevent excessive excursion of the loudspeaker voice coil (and thus damage), and RMS limiters, which limit the average power dissipated by the loudspeakers to prevent overheating (and thus damage).
Well-tuned limiters ensure the durability of the loudspeaker (no failures at PikiP!). It’s a delicate balance: maintaining high sound levels and sufficient dynamics, while also, less obviously, preserving battery life. In fact, a difference of 1 dBU in RMS limiting results in an SPL difference of less than 1 dB due to power compression. This difference is barely audible but can lead to 25% higher power consumption.
Loudspeaker design is, of course, essential, but it goes hand in hand with all the signal processing embedded in the amplifiers. Developed with experts in system tuning, this new version of presets ensures optimised use of our loudspeakers in terms of sound level, robustness, and autonomy, while preserving the PikiP sound signature.